期刊VIP學術指導 符合學術規范和道德
保障品質 保證專業,沒有后顧之憂
0 前言
鐵塔基礎設計歷來是輸電線路工程設計的重點,輸電線路工程特殊性要求基礎型式也具有多樣性,以適應各種各樣地形地質條件下立塔要求。目前輸電線路鐵塔基礎常見形式主要有掏挖基礎、板式基礎、臺階基礎、斜柱式基礎、巖石嵌固基礎、樁基礎。但在實際工程中往往出現一些特殊條件使得這些常見的基礎形式無法滿足工程要求。本文通過220kV雄鷹變π接長望~陸川110kV線路工程中臺階基礎的改良設計給予總結,論述在特殊工程條件下多種基礎形式結合的可行性。
1 工程概況及遇到問題
220kV雄鷹變π接長望~陸川110kV線路全長2.4km,新建鐵塔9基。沿線經過地貌主要為水田,地質條件0~1m為可塑粘土,1m以下為完整微風化灰巖,地下水位0.3m左右。水田場地在有地下水時優先選用臺階基礎方便施工。但本工程大部分塔基場地只有1m左右覆土,1m以下均為完整的微風化硬質灰巖,臺階基礎需要采用爆破施工開挖基坑,具有施工困難、工期長、成本高、對周邊環境破壞大等缺點。本工程投資小、工期緊,采用常規基礎形式不能滿足建設要求。
2 基礎方案分析
本工程塔基場地基巖均為微風化灰巖,其具有較高地基承載力,能滿足鐵塔基礎下壓力要求。塔基場地只有1米左右覆土,如不開挖基巖加大基礎埋深不能滿足基礎抗拔要求。如何提高淺埋臺階基礎抗拔力成為解決問題的關鍵。常規鐵塔基礎通過自重或抗拔土體與地基土間摩擦力提供抗拔力,受工程地質條件限制,顯然這兩種方式不是最佳選擇。
分析工程地質特點,1米左右可塑粘土,1米以下為完整微風化灰巖。粘土地區通常選用板式或臺階基礎,遇到完整硬質巖石開挖困難時則多選用錨筋基礎。根據工程特點,采用了淺埋臺階基礎加巖石錨桿結合的特殊基礎形式。通過臺階基礎底板和巖石錨桿分別將基礎下壓力和上拔力傳到基巖上。采用巖石錨桿淺埋臺階基礎有效結合了兩種基礎形式及工程地質條件的優點。
3 設計計算
鐵塔基礎設計計算應包括有地基強度計算,上拔穩定計算及基礎強度驗算。根據巖石錨桿淺埋臺階基礎的特點,本文只對上拔穩定計算進行分析。基礎抗拔力主要由錨桿提供,因此基礎上拔計算主要為錨桿計算。
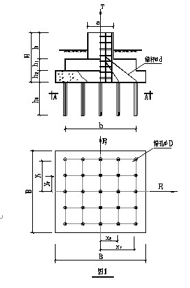
3.1 計算簡圖

圖為巖石錨桿淺埋臺階基礎計算簡圖。
3.2 單根上拔錨桿受力計算
單根錨桿受到上拔力為:
Ti=(T-Qf)/n+Mx*Yi/∑Yi2+My*Xi/∑Xi2
Mx=Px*H My=Py*H
T ——— 基礎上拔力設計值(kN);
Px、 Py——— 分別作用于基礎頂面X、Y方向的
水平力設計值(kN);
Qf ——— 基礎自重(kN),有地下水時取浮
重度;
n ——— 錨桿總根數;
Mx、 My——— Px、Py對通過群桿重心的Y軸
和X軸的力矩(kN.m);
Xi、 Yi——— 錨桿i至通過群桿重心的Y軸和X軸的距離(m);
3.3錨桿與砂漿的粘結力計算
單根錨桿與砂漿的粘結力應符合下式計算要求:
π*d*h0*τa≥γf*Ti
d ——— 錨桿直徑(m);
h0——— 錨桿有效錨固長度(m);
τa———鋼筋與砂漿或細石混凝土間的粘結強度, C30級取3000 kPa;
γf ———基礎附加分項系數,耐張塔取1.6,直線塔取1.1。
3.4砂漿與巖石間的粘結力計算
砂漿與巖石間的粘結力應符合下式計算要求:
π*D*h0*τb≥γf*Ti
D ——— 錨孔直徑,(m);
τb ——— 砂漿與巖石的粘結強度特征值,按《建筑地基基礎設計規范》(GB 5007-2002)表6.7.6取值;
3.5單根錨桿巖石抗剪力計算
單根錨桿巖石抗剪力計算應符合下式計算要求:
π*h0*τs*(D+h0)≥γf*Ti
τs——— 巖石等代極限剪切強度,按《架空送電線路基礎設計規范技術規定》(DL/T 5219-2005)表10.2.4取值。
3.6群錨桿巖石抗剪力計算
群錨桿巖石抗剪力計算應符合下式計算要求:
π*h0*τs*(c+h0)+Qf≥γf*T
(c=√2*b+D)
c ———群錨桿外切直徑,(m)。
4 設計及施工注意事項
巖石錨桿除了滿足計算要求外,尚應滿足《架空送電線路基礎設計規范技術規定》10.3條的構造要求。
采用巖石錨桿淺埋臺階基礎對基巖要求較高,宜為完整微風化硬質巖,基礎應與基巖連成整體,錨孔必須落在整塊生根石上,不能落在浮石上;錨孔灌漿前應將孔壁清理或沖洗干凈,開孔至澆灌的間隙時間應盡量縮短。錨筋另一端與基礎主筋用鐵線綁扎固定,并插入主筋籠內。
5 結語
巖石錨桿淺埋臺階基礎成功應用在220kV雄鷹變π接長望~陸川110kV線路工程中,該工程已經竣工投產,目前運行情況良好。巖石錨桿淺埋臺階基礎混凝土及鋼材用量均小于臺階基礎的用量,且施工時不需大開挖基巖,大大縮短了施工工期。此外,該類型基礎不需要大型機械進場施工,大大減輕了對塔基周邊環境的影響,保護了農田。巖石錨桿淺埋臺階基礎在本工程應用取得了良好的經濟及社會效益,值得在類似工程借鑒應用。
參考文獻:
(1) 鄭衛鋒,魯先龍,程永鋒,丁士君,輸電線路巖石嵌固基礎抗拔試驗研究,
巖土力學與工程學報,2009.1(1)
(2) 唐其練,羅斌,新型巖石錨固基礎在500kV線路中的設計與應用[J],江西電力,2000.(3)
(3) 《建筑地基基礎設計規范》(GB 5007-2002),2002